Dispositivo de soporte de cadena para evitar el desprendimiento de cadena
El presente dispositivo revela un cadena dispositivo de soporte para evitar el desprendimiento de la cadena, que incluye una placa inferior instalada en una viga fija, en el que la placa inferior está equipada con una tira de guía inferior de nailon, y la placa inferior también está cubierta con una cubierta protectora. La cubierta protectora cubre la parte superior y los dos lados de la placa inferior, y hay aberturas para que pase la cadena en los extremos delantero y trasero de la cubierta protectora. La parte superior de la cubierta protectora está conectada hacia abajo con una tira guía de nailon superior. La tira guía de nailon superior y la tira guía de nailon inferior se corresponden arriba y abajo, con ranuras vacías reservadas para transmisión por cadena. El lado de la cubierta protectora se extiende horizontalmente para formar una placa lateral fija, que está conectada a la placa inferior. El dispositivo de soporte de la cadena antidesprendimiento del presente dispositivo puede evitar que la cadena salte hacia arriba y hacia abajo durante el proceso de transmisión de la cadena, evitar que la cadena se caiga por un lado, reducir el ruido y el desgaste durante el proceso de transmisión de la cadena y hacer que el equipo funcione. de forma más segura y estable.

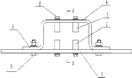
1. Dispositivo de soporte de cadena para evitar el desprendimiento de la cadena, caracterizado porque comprende una placa inferior (1) instalada sobre una viga fija, en donde la placa inferior (1) está equipada con una tira guía inferior de nylon (2), y la placa inferior La placa (1) también está cubierta con una cubierta protectora (4), que cubre la parte superior y los dos lados de la placa inferior (1), y la cubierta protectora (4) está provista de aberturas para que pase la cadena en la parte delantera y extremos traseros, la parte superior de la cubierta protectora (4) está conectada hacia abajo con una tira de guía de nailon superior (3), y la tira de guía de nailon superior (3) y la tira de guía de nailon inferior (2) se corresponden arriba y abajo con vacío Ranuras (5) para transmisión por cadena. El lateral de la cubierta protectora (4) se extiende horizontalmente para formar una placa lateral fija (6), la cual se conecta a la placa inferior (1).
2. Dispositivo de soporte de cadena para evitar el desprendimiento de cadena de conformidad con la reivindicación 1, caracterizado porque tanto la barra guía superior como la inferior son alargadas, y la cubierta protectora está conectada verticalmente hacia abajo con dos barras guía paralelas superiores de nylon, mientras que la placa inferior es conectado verticalmente hacia arriba con dos barras guía de nylon inferiores paralelas, formando una estructura de soporte de cadena en ambos extremos de la cadena.
3. Dispositivo de soporte de cadena para evitar el desprendimiento de cadena de acuerdo con la reivindicación 1, caracterizado porque los extremos anterior y posterior del listón guía superior de nailon están provistos de chaflanes en forma de arco (7), y los extremos anterior y posterior del listón guía inferior de nailon. tira guía también están equipados con chaflanes en forma de arco (7). Los chaflanes en forma de arco en los extremos de la tira guía de nailon superior y la tira guía de nailon inferior forman una abertura en forma de trompeta con una ranura vacía en el extremo.
4. Dispositivo de soporte de cadena para evitar el desprendimiento de cadena de acuerdo con la reivindicación 1, caracterizado porque la parte superior de la tira guía superior de nylon y la cubierta protectora se fijan mediante tornillos (8), y los tornillos se distribuyen uniformemente con tres.
5. Dispositivo de soporte de cadena para evitar el desprendimiento de cadena de acuerdo con la reivindicación 1, caracterizado porque la parte inferior de la tira guía inferior de nylon y la placa antibase se fijan mediante tornillos (8), con tres tornillos distribuidos uniformemente.
6. Dispositivo de soporte de cadena para evitar el desprendimiento de cadena de acuerdo con la reivindicación 1, caracterizado porque la placa lateral fija (6) y la placa inferior (1) están fijadas mediante pernos (9).
Campo técnico
[0001] El presente dispositivo se refiere a una estructura de transmisión de cadena en dispositivos mecánicos, en particular a un dispositivo de soporte de cadena para evitar el desprendimiento de cadena.
tecnología de fondo
En el dispositivo de elevación de equipo mecanico de estacionamiento, cuando el tramo de la cadena es demasiado largo, generalmente se agrega una cadena de soporte en el medio de la cadena larga para evitar que la cadena se mueva. Generalmente, se agrega una almohadilla de nylon a una base para lograr esto. Sin embargo, los dispositivos de cadena de arrastre generales tienen inconvenientes. Debido a que la longitud de la cadena es demasiado larga, no solo rebota hacia arriba y hacia abajo para producir ruido durante la operación, sino que también se desprenderá de la ranura de guía del bloque de nailon de la cadena de soporte, causando problemas de seguridad.
Resumen del dispositivo
[0003] El presente dispositivo tiene como objetivo superar las deficiencias de los dispositivos de cadena de arrastre ordinarios que fijan las cadenas de forma no segura y son fáciles de saltar, y proporciona un dispositivo de soporte de cadena antidesprendimiento seguro y estable.
[0004] Para lograr el propósito anterior, la presente invención adopta la siguiente solución técnica:
El presente dispositivo se refiere a un dispositivo de soporte de cadena para evitar el desprendimiento de la cadena, que incluye una placa inferior instalada en una viga fija, en donde la placa inferior está equipada con una tira guía inferior de nailon, y la placa inferior también está cubierta con una cubierta protectora. La cubierta protectora cubre la parte superior y los dos lados de la placa inferior, y hay aberturas para que pase la cadena en los extremos delantero y trasero de la cubierta protectora. La parte superior de la cubierta protectora está conectada hacia abajo con una tira guía de nailon superior. La tira guía de nailon superior y la tira guía de nailon inferior se corresponden arriba y abajo, con ranuras vacías reservadas para la transmisión por cadena. El lado de la cubierta protectora se extiende horizontalmente para formar una placa lateral fija, que está conectada a la placa inferior.
[0005] Comparado con los dispositivos ordinarios de soporte de cadena que solo tienen función de soporte de cadena, el presente dispositivo tiene los siguientes efectos significativos:
1. Utilizamos dos capas de tiras de guía de nailon, una en la parte superior y la otra en la parte inferior, dejando un espacio en el medio para sujetar la cadena y evitar que salte hacia arriba y hacia abajo, causando riesgos de seguridad.
0006. Encima se ha instalado una funda protectora, que protege la parte superior y dos laterales, evitando que la cadena salte por el lateral. Si hay una cubierta protectora, la cadena no se caerá, causando problemas de seguridad para el equipo.
[0007] 3. La barra guía adopta barras guía de nylon, que pueden reducir efectivamente el ruido generado en la transmisión y reducir la pérdida por fricción en la cadena.
[0008] Como opción preferida, las barras de guía de nailon superior e inferior son alargadas. La cubierta protectora está conectada verticalmente hacia abajo a dos barras guía de nailon superiores paralelas, y la placa inferior está conectada verticalmente hacia arriba a dos barras guía de nailon inferiores paralelas, formando una estructura de soporte de cadena en ambos extremos de la cadena. La bola de la cadena impulsa la cadena al pasar a través del espacio entre las barras guía de nailon superior e inferior. La estructura de la cadena de soporte de dos extremos reduce el área de contacto entre la cadena y la tira guía de nylon, reduce la pérdida por fricción, reduce el ruido y hace que la transmisión de la cadena sea más suave mientras mantiene la función de la cadena de soporte.
[0009] Como opción preferida, los extremos delantero y trasero de la tira guía de nailon superior están equipados con chaflanes en forma de arco, mientras que los extremos delantero y trasero de la tira guía de nailon inferior también están equipados con chaflanes en forma de arco. Los chaflanes en forma de arco en los extremos de la tira guía de nailon superior y la tira guía de nailon inferior forman una abertura en forma de trompeta con una ranura vacía en el extremo. La forma de la abertura en forma de trompeta es beneficiosa para la instalación inicial, ya que facilita la introducción de la cadena en la ranura vacía y evita el desgaste de las puntas afiladas de las bolas de la cadena.
[0010] Como opción preferida, la parte superior de la tira de guía de nailon superior se fija con tornillos entre la cubierta protectora, y los tornillos se distribuyen uniformemente con tres.
[0011] Como opción preferida, la parte inferior de la tira de guía de nailon inferior se fija con tornillos entre la placa antibase, y los tornillos se distribuyen uniformemente con tres.
Como opción preferida, la placa lateral fija y la placa inferior se fijan mediante pernos.
[0013] El presente dispositivo tiene los siguientes efectos beneficiosos: el dispositivo de soporte de la cadena antidesprendimiento puede evitar que la cadena salte hacia arriba y hacia abajo durante el proceso de transmisión de la cadena, evitar que la cadena se caiga lateralmente, reducir el ruido y el desgaste durante la cadena. proceso de transmisión, y hacer que el equipo funcione de manera más segura y estable.
Figuras ilustradas


La figura 0014 es un diagrama esquemático estructural de la presente invención.
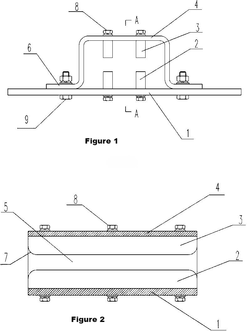
[0015] La figura 2 es una vista en sección transversal de AA en la figura 1.
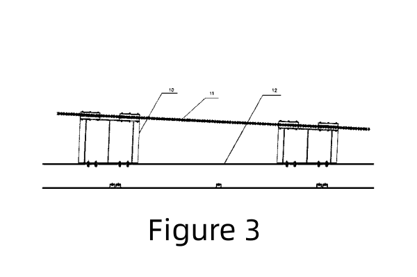
La Figura 0016 es un diagrama de referencia del estado de uso de la presente invención.
[0017] En la figura: placa inferior 1, tira guía de nailon inferior 2, tira guía de nailon superior 3, cubierta protectora 4, ranura vacía 5, placa lateral fija 6, chaflán curvo 7, tornillo 8, perno 9, soporte 10, cadena 11, viga trasera 12o
Método de implementación específico
El presente dispositivo se describirá adicionalmente junto con los dibujos adjuntos y las realizaciones específicas.
En las realizaciones mostradas en las Figuras 0019 y 1, un dispositivo de soporte de cadena para evitar el desprendimiento de la cadena incluye una placa base 2 instalada en una viga fija. La viga fija es un componente fijo en la parte inferior de la cadena de transmisión, como la viga trasera o la columna del equipo mecánico. La placa inferior 1 está equipada con una tira de guía de nailon inferior 1, y una cubierta protectora 2 también está cubierta en la placa inferior 4. La cubierta protectora 1 cubre la parte superior y dos lados de la placa inferior 4, y hay aberturas para el cadena para pasar a través de los extremos delantero y trasero de la cubierta protectora 1. La parte superior de la cubierta protectora 4 está conectada hacia abajo con una tira guía de nailon superior 4, y la tira guía de nailon superior 3 y la tira guía de nailon inferior 3 corresponden hacia arriba y hacia abajo , dejando una ranura 2 vacía para la transmisión por cadena. Las barras guía de nylon superior e inferior son alargadas, con dos barras guía de nylon superiores paralelas conectadas verticalmente hacia abajo en la cubierta protectora, y dos barras guía de nylon inferiores paralelas conectadas verticalmente hacia arriba en la placa inferior, formando la estructura de soporte de la cadena en ambos extremos de La cadena. El rodillo de la cadena impulsa la cadena al pasar por las ranuras vacías de las barras guía de nailon superior e inferior.
[0020] El lado de la cubierta protectora 4 se extiende horizontalmente para formar una placa lateral fija 6, que está conectada a la placa inferior 1 a través de pernos 9 fijos.
[0021] Los extremos delantero y trasero de la tira de guía de nailon superior están equipados con chaflanes en forma de arco 7, y los extremos delantero y trasero de la tira de guía de nailon inferior también están equipados con chaflanes en forma de arco 7. Los chaflanes en forma de arco en los extremos de la tira de guía de nailon superior y la tira de guía de nailon inferior forman una abertura en forma de trompeta con una ranura vacía en el extremo.
[0022] La parte superior de la tira de guía de nailon superior se fija con tornillos 8 entre la cubierta protectora, y los tornillos se distribuyen uniformemente con tres. más bajo
La parte inferior de la tira de guía de nailon y la placa inferior anti se fijan con tornillos 8, y los tornillos se distribuyen uniformemente con tres.
[0023] El dispositivo de soporte de cadena antidesprendimiento se puede aplicar a varios equipos mecánicos de transmisión de cadena, sin limitarse a equipos mecánicos de estacionamiento. Cuando la cadena es larga, se pueden colocar varios dispositivos de soporte de cadena en el medio, como se muestra en la Figura 3. Dos dispositivos de soporte de cadena se colocan uno al lado del otro y se instalan en la viga trasera 12 del dispositivo de elevación a través del soporte 10. Durante Se establece el proceso de transmisión de la cadena 11, dos soportes 10 y cuatro dispositivos de soporte de la cadena. Cuando la cadena se inclina para la transmisión, las ranuras vacías del dispositivo de soporte de la cadena se inclinan en el mismo ángulo.
GIDI CHAIN LIMITED suministrar muchos cadena de rodillos, cadena transportadora, Cadena de la hoja, cadena soldada, cadena forjada, Cadena de molino de aceite de palma, Cadena de elevación,Cadena de minas y metalurgia, etc. totalizando sobre variedades 3000. y 90% de las cadenas se exportan a todo el mundo, que exportan principalmente al sudeste de Asia, Europa, América del Norte y América del Sur. Las cadenas son bienvenidas por los clientes con la excelente calidad. Nuestra empresa posee más de 100 conjuntos de equipos de fabricación avanzados y profesionales. El sistema de control de calidad perfecto y riguroso se implementa en todos los procesos, desde la compra de materiales hasta el embalaje de productos terminados. Además, hemos aprobado la certificación ISO9001: 2015 Quality Management System.
Mas detalle : www.gidi-chain.com